推拉窗系列 平开窗系列 平开门系列 断桥隔热系列 幕墙系列 通用型材系列

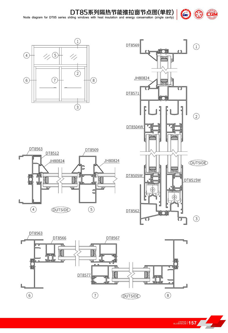
DT85推拉系列(单腔)

当前位置: 佳华铝型材 > 产品展示 > 断桥隔热系列

铝型材规格型号:DT85推拉系列(单腔)

铝型材规格型号:DT85推拉系列(单腔)

全国服务热线:4000189233
DT85推拉系列(单腔)
<

1页 / 共

>

应用实例Application case

相关产品Related Products

Top

QQ客服

400-0189-233